Alçak Tavan Elektrikli Zincirli Vinç
Alçak Tavan Elektrikli Zincirli Vinç
PLTNA Serisi Alçak Tavan Monoray Zincirli Vinçleri 380 Volt ve 440 Volta Uyumlu.
Alçak tavan zincirli vinçleri, operasyon açısından yükseklikte sorun olan yerlerde kullanılır. Kullanım alanında tavan yüksekliği az ise vinç payından kazanmak için alçak tavan vinçlerini tercih edebilirsiniz.
Fiyat performansı olarak standart vinçlere göre daha pahalıdır fakat sistem bileşenleri standart vinçlerden daha fazladır.
Montajı ise diğer vinçlere göre biraz daha zordur. Montaj için profesyonel yardım alınması gerekmektedir.
Kullanımı ise zincirin boynuz denen kısıma kadar yere paralel olarak gelerek aşağıya inmesiyle oluşmaktadır. Kanca, motor, şanzuman, fren gibi bütün parçaları test edilerek bir makine haline gelmektedir.

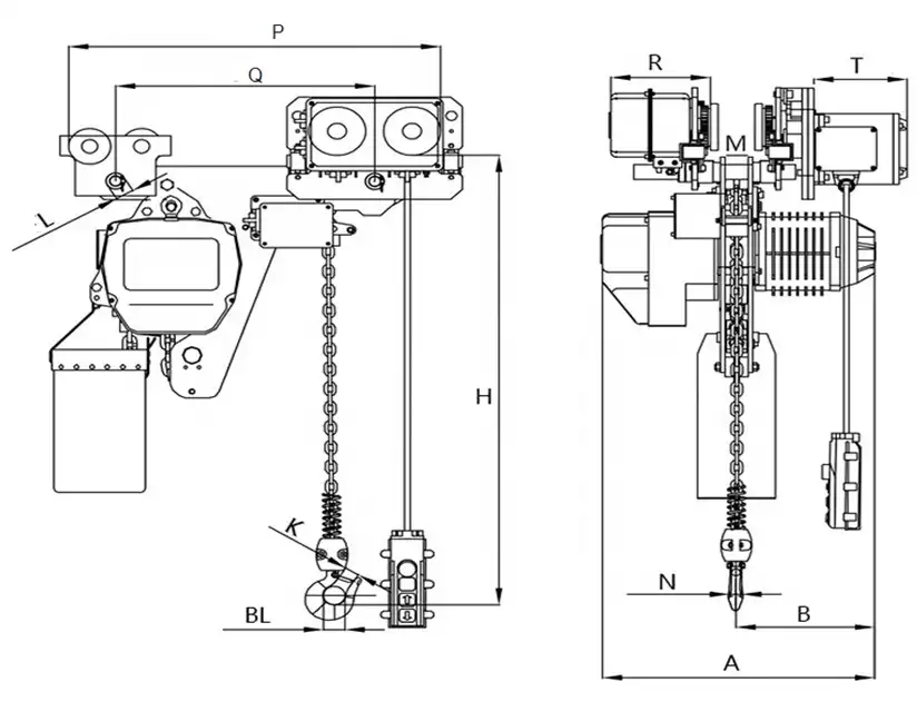
| TEKNİK TABLO | |||||||||||||||||||||||||||||||||||||
| Model | Kapasite | Kaldırma Hızı (mt./dk.) | Kaldırma Motoru (kw) | Yürütme Hızı (mt./dk.) | Yük Zinciri | ||||||||||||||||||||||||||||||||
| (t) | 380V 50HZ | 440V 60HZ | 380V 50HZ | 440V 60HZ | (mm) | ||||||||||||||||||||||||||||||||
| PLTNA0.5-01S | 0.5 | 7,8 | 9,2 | 0,75 | 11-21 | 12-24 | 6,3 | ||||||||||||||||||||||||||||||
| PLTNA01-01S | 1 | 6,8 | 8,4 | 1,5 | 11-21 | 12-24 | 7,1 | ||||||||||||||||||||||||||||||
| PLTNA02-01S | 2 | 6,8 | 8,1 | 3 | 11-21 | 12-24 | 10 | ||||||||||||||||||||||||||||||
| PLTNA03-01S | 3 | 5,6 | 6,4 | 3 | 11-21 | 12-24 | 11,2 | ||||||||||||||||||||||||||||||
| PLTNA05-02S | 5 | 2,7 | 3,3 | 3 | 11-21 | 12-24 | 11,2 | ||||||||||||||||||||||||||||||
| PLTNA7.5-03S | 7.5 | 1,9 | 2,1 | 3 | 11-21 | 12-24 | 11,2 | ||||||||||||||||||||||||||||||
| PLTNA10-04S | 10 | 2,7 | 3 | 3*2 | 11-21 | 12-24 | 11,2 | ||||||||||||||||||||||||||||||
| ÖLÇÜ TABLOSU | |||||||||||||||
| Model | H mm | A mm | B mm | P mm | Q mm | ||||||||||
| PLTNA0.5-01S | 350 | 460 | 230 | 595 | 410 | ||||||||||
| PLTNA01-01S | 480 | 520 | 260 | 635 | 450 | ||||||||||
| PLTNA02-01S | 570 | 620 | 310 | 727 | 512 | ||||||||||
| PLTNA03-01S | 640 | 620 | 310 | 779 | 530 | ||||||||||
| PLTNA05-02S | 740 | 620 | 310 | 825 | 530 | ||||||||||
| PLTNA7.5-03S | 900 | 620 | 310 | 1024 | 740 | ||||||||||
| PLTNA10-04S | 880 | 620 | 310 | 926 | 613 | ||||||||||
Alçak Tavan Elektrikli Zincirli Vinç, özellikle düşük tavan yüksekliğine sahip endüstriyel ve ticari alanlarda kullanılmak üzere tasarlanmış bir vinç türüdür. Bu vinçler, mekânın yüksekliği sınırlı olduğunda, maksimum kaldırma kapasitesi ve verimliliği sağlamak için ideal bir çözümdür. Alçak tavan vinçleri, genellikle depo, atölye, montaj hatları ve küçük ölçekli üretim tesisleri gibi yerlerde tercih edilir.
Başlıklar
ToggleTasarım ve Yapısal Özellikler
Alçak Tavan Elektrikli Zincirli Vinçlerin tasarımı, mevcut alanın en iyi şekilde kullanılmasına odaklanır. Bu vinçler, tavan yüksekliğini en üst düzeyde kullanmak için kompakt bir yapıya sahiptir. Elektrikli zincirli vinçler, genellikle hafif ve orta dereceli yük kaldırma işlemleri için uygundur ve bu tür vinçlerde kullanılan zincir, yükün kaldırılmasını ve indirilmesini sağlar.
Kaldırma Kapasitesi ve Çalışma Mekanizması
Alçak tavan vinçlerinin kaldırma kapasitesi genellikle birkaç ton ile sınırlıdır, bu da onları daha hafif ve orta dereceli yükler için ideal kılar. Elektrik motoru, zinciri hareket ettirerek yükü yukarı ve aşağı taşır. Vinçlerde kullanılan elektrik motorunun gücü, vinç kapasitesine ve kullanım sıklığına göre değişir. Ayrıca, hız kontrol mekanizmaları sayesinde yüklerin hassas bir şekilde kaldırılması ve indirilmesi mümkündür.
Güvenlik Özellikleri
Güvenlik, alçak tavan elektrikli zincirli vinçlerin tasarımında önemli bir yer tutar. Aşırı yük koruması, acil durdurma butonları, sınırlayıcı anahtarlar gibi özellikler vinçlerin güvenli bir şekilde çalışmasını sağlar. Ayrıca, düzenli bakım ve muayeneler, vinçlerin güvenli ve verimli bir şekilde çalışmasını uzun süre devam ettirir.
Kurulum ve Bakım
Alçak tavan vinçlerinin kurulumu, genellikle yerinde ve profesyonel ekipler tarafından gerçekleştirilir. Vinçlerin montajı ve kurulumu, üreticinin talimatlarına ve güvenlik standartlarına uygun olarak yapılmalıdır. Bakım ve onarım işlemleri de vinçlerin verimliliğini ve ömrünü artırmak için düzenli olarak yapılmalıdır.
Uygulama Alanları
Alçak tavan elektrikli zincirli vinçler, özellikle alan kısıtlaması olan yerlerde tercih edilir. Depolar, atölyeler, montaj hatları, otomotiv sanayi, hafif üretim tesisleri ve onarım atölyeleri bu tür vinçlerin yaygın olarak kullanıldığı yerlerdir.
Sonuç
Alçak tavan elektrikli zincirli vinçler, sınırlı alanlarda maksimum verimlilik ve güvenlik sağlayan özel tasarlanmış kaldırma ekipmanlarıdır. Kompakt tasarımı, yüksek güvenlik özellikleri ve kullanım kolaylığı, bu vinçleri birçok endüstriyel ve ticari uygulama için ideal bir seçim haline getirir. Bu vinçler, alan kısıtlamalarına rağmen ağır yüklerin kolayca kaldırılmasını ve taşınmasını sağlayarak iş süreçlerinin verimliliğini artırır.
Alçak tavan zincirli vinçler, düşük tavan yüksekliği olan alanlarda yük kaldırma ve taşıma işlemleri için kullanılan kompakt ve verimli bir kaldırma ekipmanıdır. Genellikle endüstriyel tesislerde, depolarda, atölyelerde ve üretim hatlarında yaygın olarak kullanılırlar. İşte alçak tavan zincirli vinçlerle ilgili daha fazla detay:
Uzun Tanım: Alçak tavan zincirli vinçler, alçak tavanlı veya dar alanlarda yük kaldırma işlemleri için tasarlanmış kompakt vinçlerdir. Genellikle elektrik motorları tarafından tahrik edilen zincirler aracılığıyla yükü kaldırır ve indirirler. Bu vinçlerin genellikle düşük profilli ve hafif yapısı vardır, bu da onları sınırlı alanlarda kullanım için ideal hale getirir. Kompakt tasarımları sayesinde dar alanlarda çalışırken maksimum yük taşıma kapasitesine sahiptirler.
Kullanım Alanları: Alçak tavan zincirli vinçler geniş bir kullanım alanına sahiptir. Endüstriyel tesislerde, depolarda, atölyelerde, üretim hatlarında ve montaj alanlarında sıkça kullanılırlar. Ağır makinelerin montajı, malzeme taşıma, yük boşaltma ve montaj hatlarında yüksek hassasiyet gerektiren işlemler için idealdirler. Ayrıca perakende depolarda ve lojistik merkezlerinde de kullanılmaktadırlar.
Teknik Bilgi:
Taşıma Kapasitesi: 0.5 ton ile 10 ton arasında değişen taşıma kapasitesine sahiptirler.
Kaldırma Yüksekliği: Genellikle 3 metre ile 6 metre arasında değişen kaldırma yüksekliği sunarlar.
Çalışma Hızı: Ayarlanabilir çalışma hızları vardır, hassas kaldırma işlemleri için düşük hızlarda çalışabilirler.
Güvenlik Özellikleri: Aşırı yük koruması, acil durum stop düğmeleri ve otomatik durma sistemleri gibi güvenlik özelliklerine sahiptirler.
Kontrol Sistemi: Genellikle kumanda panelleri veya uzaktan kumandalar aracılığıyla kontrol edilirler.
Montaj ve Bakım: Kolay montaj ve düşük bakım gereksinimi sayesinde kullanıcı dostudurlar.
Kullanım Bilgisi:
Vinçlerin montajı, genellikle üretici tarafından sağlanan talimatlara göre uzman ekipler tarafından gerçekleştirilir.
Kullanıcılar vinçleri düzenli olarak bakım yapmalı ve periyodik kontrolleri sağlamalıdır.
Operatörler vinçleri güvenli bir şekilde kullanmak için eğitilmeli ve güvenlik prosedürlerine uymalıdır.
Vinçlerin taşıma kapasitesini aşmamak ve güvenlik sınırlarını göz önünde bulundurmak önemlidir.




